-
Saab parts 9-5 ( 1998 - 2010 )
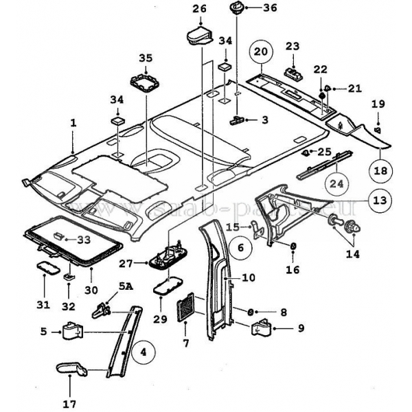
Innenraum Himmel Modelle ( 5 ) Türen 
-
11 - Klemme Dachhimmel hinten
- Abdeckung Luke Schiebedach 9-5 (1998-2005 )
26 - Fixierscheibe Schutzgitter für Dachhimmel Version 5 - Türen
27 - Abdeckung Schutzgitter Dachhimmel links Version 5 -Türen
27 - Abdeckung Schutzgitter Dachhimmel rechts Version 5 - Türen
29 - Abdeckung Schutzgitter Dachhimmel Modelle ( 5 )- Türen



